Need Support?
Please provide your question. We’ll find you with the best support options.
staging
⬇️ Scroll Down Now or Contact ISK for More Bearing Information
In the vast and intricate world of mechanical systems, bearings play a fundamental role as a silent enabler of seamless rotation and movement for various components. Among these engineering marvels, the 608 miniature bearing stands out as a true paradigm of precision, efficiency, and versatility. Serving as the preferred choice for countless applications, from skateboards to 3D printers and beyond, these miniature powerhouses have secured an indispensable position across industries.
Table of Contents
Ball Bearing 608 |
|
|---|---|
| Type | Ball |
| Material, bearing | Bearing Steel |
| Bore diameter(d) | 8 mm |
| Outside diameter(D) | 22 mm |
| Width(B) | 7 mm |
| Cage | Steel / Nylon |
| Number of Raceway Ring Rows | Single Row |
| Size Standards | Metric |
Dimensions |
|
|---|---|
| Bore diameter (mm) | 8 |
| Outside diameter (mm) | 22 |
| Width (mm) | 7 |
Performance |
|
|---|---|
| Weight (g) | 11.8 |
| Dynamic (kgf) | 336 |
| Static (kgf) | 140 |
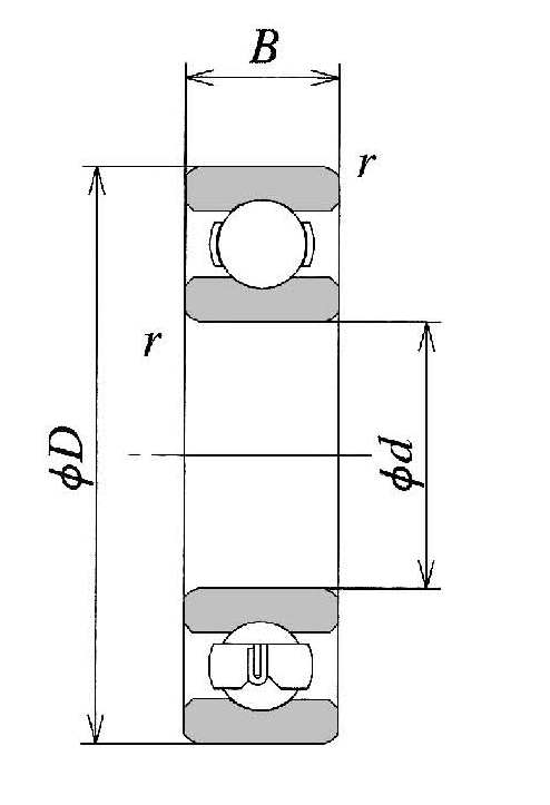
Miniature Ball Bearing 608 Detailed Dimensional Information
The inner diameter of the 608 bearing is 8 millimeters. It can accommodate shafts with a diameter of 8 millimeters.
The outer diameter of the 608 bearing is 22 millimeters. This refers to the diameter of the outer ring of the bearing. Make sure that your application space can accommodate the outer diameter of the 608 bearing.
The width of the 608 bearing is 7 millimeters. This refers to the distance between the inner and outer rings of the bearing. Ensure that this dimension is suitable for your application to ensure proper installation and operation.
The 608 bearing is a common and widely used bearing model. Understanding its inner diameter, outer diameter, and width dimensions is crucial for selecting the appropriate bearing. Based on your application requirements, load, speed, temperature, and quality criteria, choose the suitable size of the 608 bearing for your application to ensure good performance and reliability.
The designation "608" refers to a specific type of bearing, and it is commonly used in the context of skateboard and roller skate bearings. The "608" designation follows the standard numbering system established by the International Organization for Standardization (ISO) for radial ball bearings. Let's break down the meaning of "608":
6: The first digit in the designation typically represents the series of the bearing. In this case, "6" indicates that it belongs to the deep groove ball bearing series.
08: The second and third digits denote the bore diameter of the bearing in millimeters. For a ball bearing "608" , the bore diameter is 8 millimeters.
Ball bearing "608" is a deep groove ball bearing with a bore diameter of 8 millimeters. These bearings are widely used in various applications, especially in skateboards, roller skates, and other small machinery where their compact size and radial load-handling capabilities are advantageous. The popularity of the ball bearing 608 in skate applications has led to it being commonly known simply as a "ball bearing 608."
The 608 bearing is typically constructed with inner and outer rings, a set of steel balls, and a cage to maintain ball separation. The inner and outer rings are usually made of high-quality steel, while the balls are made from steel materials. The cage is often made of a synthetic material like nylon or steel, and it serves to evenly space the balls within the bearing and reduce friction.
Acting as the stationary raceway, the outer ring completes the race circuit and encapsulates the entire bearing.
These small, spherical elements provide the necessary separation and facilitate smooth rotation.
The cage holds the balls in place, ensuring equal distribution and preventing contact during operation.
The sealing covers for the 608 bearing mainly come in three types: ZZ, 2RS, and OPEN.
608 OPEN, 608 ZZ, and 608 2RS are different outer cover modes of the bearing. In this article, we will introduce these outer cover modes to help you choose the appropriate bearing protection method that suits your needs.
The 608 OPEN type bearing cover is a design without a cover, allowing the internal components of the bearing to be exposed to the external environment. This design makes the bearing more susceptible to contamination from dirt, dust, and other external particles.
608ZZ refers to the 608 bearing with metal shields as the outer cover. The metal shields effectively block dust, contaminants, and other external particles from entering while retaining the lubricant within the bearing.
608 RS refers to the 608 bearing with rubber seals as the outer cover. The rubber seals provide enhanced protection by effectively blocking moisture, dust, and other contaminants from entering. This sealing method is commonly used in harsh environments and applications that require stricter protection.
The primary difference between the bearings with designations 608ZZ and 608-2RS lies in their sealing or shield configurations:
608ZZ has metal shields, offering good protection against dust but providing slightly less effective sealing compared to rubber seals. It's commonly used in applications where the environment is relatively clean, and the emphasis is on lower friction.
608 2RS has rubber seals, providing better protection against contaminants, especially in applications where there's a higher risk of exposure to water, dirt, or other particles. It's a preferred choice when enhanced sealing is crucial for bearing performance and longevity.
When choosing between 608ZZ and 608 2RS, consider the environmental conditions of the application and the level of protection required against contaminants. Both types are widely used in various applications, including skateboards, inline skates, and other small machinery.
When choosing the appropriate bearing outer cover mode for your needs, consider the following factors:
Determine the potential sources of contamination and other external particles in your application environment. Based on the environmental conditions, choose between open type, metal shields, or rubber seals to provide the appropriate protection.
Consider the precision and speed requirements of your application. Open type bearings are typically suitable for low precision and lower speed applications, while metal shields and rubber seals offer higher protection and are suitable for medium and high precision requirements.
Consider your maintenance needs for the bearings. Open type bearings require regular cleaning and lubrication, while metal shields and rubber seals can reduce maintenance requirements.
608 OPEN, 608 ZZ, and 608 RS are different outer cover modes of bearings that provide varying degrees of protection and support. Depending on your application environment, precision and speed requirements, as well as maintenance needs, choose the appropriate outer cover mode to ensure the normal operation of the bearing and extend its lifespan.
The "608" in both "608 ZZ" and "608 2RS" refers to the bearing's size, specifically its dimensions. In this case, it's a type of deep groove ball bearing widely used in various applications, including skateboards, inline skates, and other machinery.
The main difference between "608 ZZ" and "608 2RS" lies in the sealing or shielding mechanism:
The "ZZ" designation indicates that these bearings have metal shields on both sides.
The metal shields are usually made of steel and provide protection against dust and some light amounts of moisture.
ZZ bearings are considered shielded bearings.
The "2RS" designation stands for two rubber seals.
These bearings have rubber seals on both sides, typically made of synthetic rubber like Nitrile or similar materials.
The rubber seals provide better protection against contaminants like dust and water compared to metal shields.
2RS bearings are considered sealed bearings.
In summary, the primary difference is in the type of protection they offer. ZZ bearings have metal shields, while 2RS bearings have rubber seals. The choice between the two depends on the specific application and the level of protection required against external elements. If the environment is relatively clean, ZZ bearings may be sufficient, but if there's a need for additional protection against moisture and dust, 2RS bearings might be a better choice.
608 bearings are designed for smooth and low-friction operation. The deep groove design enables the balls to move freely within the races, resulting in minimal friction during rotation. This characteristic helps reduce energy consumption and heat generation.
Due to the low friction and optimized design, 608 bearings can handle relatively high rotational speeds. This property is particularly valuable in applications where rapid rotation is required, such as in electric motors and skateboards.
608 bearings can handle both radial and axial loads, making them versatile and suitable for a wide range of applications where loads act from various directions.
Indicating the sealing or protection method of the bearing. "Z" represents metal shields, and "2Z" represents a bearing with two metal shields.
Indicating the sealing method of the bearing. "R" represents a bearing with a single rubber seal, while "2R" represents a bearing with two rubber seals.
The 608 bearing finds its applications in a wide range of industries due to its simple design, high reliability, and cost-effectiveness.

One of the most common uses of 608 bearings is in skateboards and roller skates. These bearings provide smooth and low-friction rotation for the wheels, allowing skaters to move effortlessly and maintain speed.

In various electric motors, such as those used in power tools, small appliances, and industrial machinery, 608 bearings are used to support shafts and reduce rotational friction, thereby improving the efficiency and longevity of the motors.
The 608 bearings are commonly found in handheld power tools like drills, grinders, and sanders. These bearings help reduce heat and friction during high-speed operations, ensuring smoother and more reliable tool performance.
In material handling and conveyor systems, 608 bearings are utilized to support rotating components, such as rollers and pulleys, ensuring smooth and efficient movement of goods in factories, warehouses, and distribution centers.
The 608 bearing is a commonly used bearing in bicycle frames. Its purpose is to provide smooth motion and support, enhancing comfort and maneuverability during cycling. The 608 bearing plays a crucial role in bicycle frames, ensuring smooth and stable movement of the rear swing arm.
The 608 bearing is an essential component in numerous industrial applications where smooth rotational movement, low friction, and high reliability are required. Its versatile design and cost-effectiveness make it a popular choice across various industries, from skateboarding to robotics and beyond.
|
Bearing No.(JIS/NSK)* |
Bore(mm)* |
Outer(mm)* |
Width(mm)* |
B1* |
D1* |
C1* |
C2* |
|---|---|---|---|---|---|---|---|
|
1 |
3 |
1 |
1.5 |
3.8 |
0.3 |
0.3 |
|
|
1 |
4 |
1.6 |
2.3 |
5 |
- |
- |
|
|
1.5 |
4 |
1.2 |
- |
5 |
0.4 |
- |
|
|
1.5 |
5 |
2 |
2.6 |
6.5 |
0.6 |
0.8 |
|
|
1.5 |
6 |
2.5 |
3 |
7.5 |
0.6 |
0.8 |
|
|
2 |
4 |
1.2 |
2 |
- |
- |
- |
|
|
2 |
5 |
1.5 |
2.3 |
6.1 |
0.5 |
0.6 |
|
|
2 |
6 |
2.3 |
3 |
7.5 |
0.6 |
0.8 |
|
|
2 |
7 |
2.8 |
3.5 |
8.5 |
0.6 |
0.6 |
|
|
2.5 |
6 |
1.8 |
- |
7 |
0.6 |
- |
|
|
3 |
7 |
2 |
3 |
8 |
0.6 |
0.6 |
|
|
3 |
8 |
3 |
4 |
9 |
0.6 |
0.6 |
|
|
3 |
9 |
3 |
5 |
10 |
0.6 |
0.6 |
|
|
3 |
10 |
4 |
4 |
11.5 |
0.6 |
0.6 |
|
|
3 |
13 |
5 |
5 |
15 |
1 |
1 |
|
|
4 |
9 |
2.5 |
4 |
10 |
0.6 |
0.6 |
|
|
4 |
11 |
4 |
4 |
12 |
0.6 |
0.6 |
|
|
4 |
12 |
4 |
4 |
13 |
0.6 |
0.8 |
|
|
4 |
13 |
5 |
5 |
14 |
0.6 |
0.8 |
|
|
4 |
16 |
5 |
5 |
17 |
1 |
1 |
|
|
5 |
11 |
3 |
4 |
12 |
0.6 |
0.8 |
|
|
5 |
13 |
4 |
4 |
14 |
0.6 |
0.8 |
|
|
5 |
14 |
5 |
5 |
14 |
0.6 |
1 |
|
|
5 |
16 |
5 |
5 |
18 |
0.6 |
1 |
|
|
5 |
19 |
6 |
6 |
22 |
1 |
1.5 |
|
|
6 |
13 |
3.5 |
4 |
14 |
0.6 |
0.8 |
|
|
6 |
15 |
5 |
5 |
17 |
0.6 |
0.8 |
|
|
6 |
17 |
6 |
6 |
19 |
1 |
1.5 |
|
|
6 |
19 |
6 |
6 |
22 |
1 |
1.5 |
|
|
6 |
22 |
7 |
7 |
25 |
1.5 |
2 |
|
|
7 |
14 |
3.5 |
4 |
15 |
0.6 |
1 |
|
|
7 |
17 |
5 |
5 |
18 |
1 |
1.5 |
|
|
7 |
19 |
6 |
6 |
22 |
1 |
1.5 |
|
|
7 |
22 |
7 |
7 |
24 |
1.5 |
2 |
|
|
7 |
26 |
9 |
9 |
30 |
1.5 |
2.5 |
|
|
8 |
16 |
4 |
4 |
18 |
0.6 |
1 |
|
|
8 |
19 |
6 |
6 |
22 |
1 |
1.5 |
|
|
8 |
22 |
7 |
7 |
22 |
1 |
1.5 |
|
|
8 |
24 |
8 |
8 |
24 |
1.5 |
2 |
|
|
8 |
28 |
9 |
9 |
30 |
1.5 |
2.5 |
|
|
9 |
17 |
4 |
4 |
19 |
0.6 |
1 |
|
|
9 |
20 |
6 |
6 |
22 |
1 |
1.5 |
|
|
9 |
24 |
7 |
7 |
25 |
1 |
1.5 |
|
|
9 |
26 |
8 |
8 |
27 |
1.5 |
2 |
|
|
9 |
30 |
10 |
10 |
35 |
2 |
3 |
Further reading:
Miniature Bearing Size Chart: A Comprehensive Guide to Miniature Ball Bearings
6204 Bearing Dimensions | Deep Groove Ball Bearings
Why is ISK BEARINGS frequently chosen as the specified bearing brand by major international companies?

Please provide your question. We’ll find you with the best support options.