Need Support?
Please provide your question. We’ll find you with the best support options.
staging
⬇️ Scroll Down Now or Contact ISK for More Bearing Information
Table of content
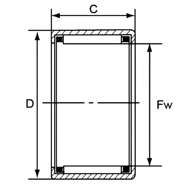
Needle bearings, also known as needle roller bearings, are precision-engineered components that are widely used in various industries for their ability to handle high radial loads in limited spaces. Proper selection of needle bearings is crucial for ensuring optimal performance and longevity of machinery and equipment. To assist in this process, a needle bearing size chart serves as a valuable reference tool.
In this article, we will delve into the details of a needle bearing size chart, explaining its significance and providing essential insights to help you make informed decisions when selecting needle bearings for your specific applications.
A needle bearing size chart is a comprehensive reference guide that presents crucial information about different types and sizes of needle bearings. It typically includes key parameters such as bore diameter, outside diameter, width, and load-carrying capacity. The size chart may also provide additional details, such as limiting speeds, tolerance classes, and available variations in cage designs and materials.
Utilizing a needle bearing size chart is essential for several reasons. Firstly, it enables accurate identification of the appropriate bearing size needed for a specific application. By referencing the chart, engineers and technicians can match the required dimensions and load capacities to the available needle bearing options. This ensures compatibility and optimal performance.
Secondly, the size chart facilitates accurate bearing selection by considering crucial operating conditions such as rotational speed,and load type. These factors greatly influence the suitability of needle bearings for specific applications.
To utilize the needle bearing size chart effectively, it is crucial to understand the specific requirements of the application. This includes factors such as the desired load capacity, operating conditions, speed limitations, and any special considerations unique to the industry or equipment.
Begin by identifying the key parameters needed for your application, such as the required bore diameter, outside diameter, and width. Cross-reference these dimensions with the available options in the size chart to find the suitable needle bearings size. Take into account the load-carrying capacity and other relevant factors to ensure optimal performance and longevity.
To obtain comprehensive information regarding the detailed dimensions of needle roller bearings, we recommend downloading our catalog.
The catalog provides in-depth specifications and technical details about various needle roller bearings, including bore diameter, outside diameter, width, and other critical dimensions.
|
Bearing No. |
Bore(Fw)(mm) |
Outer(D)(mm) |
Width(C)(mm) |
Weight(g) |
|---|---|---|---|---|
| TLA 59 | 5 | 9 | 9 | 1.8 |
| TLA 69 | 6 | 10 | 9 | - |
| TLA 79 | 7 | 11 | 9 | 2 |
| TLA 810 | 8 | 12 | 10 | 2.1 |
| TA 810 | 8 | 15 | 10 | - |
| TA 815 | 8 | 15 | 15 | - |
| TA 912 | 9 | 16 | 12 | 1.8 |
| TA 916 | 9 | 16 | 16 | 2.1 |
| TLA 1010 | 10 | 14 | 10 | 2.2 |
| TLAM 1010 | 10 | 14 | 10 | 2.2 |
| TLA 1012 | 10 | 14 | 12 | 2.6 |
| TLAM 1012 | 10 | 14 | 12 | 2.3 |
| TLA 10142RS | 10 | 14 | 14 | 2.5 |
| TLA 1015 | 10 | 14 | 15 | - |
| TA 101610 | 10 | 16 | 10 | 2.3 |
|
Bearing No. |
Bore(Fw)(mm) |
Outer(D)(mm) |
Width(C)(mm) |
Weight(g) |
|---|---|---|---|---|
| HK0306TN | 3 | 6.5 | 6 | - |
| SCE 55 + pg | 3.175 | 12.7 | 8.334 | 0.004 |
| SCE 21/24TN | 3.97 | 7.15 | 6.35 | - |
| BK0408TN | 4 | 8 | 8 | 1.8 |
| HK0408TN | 4 | 8 | 8 | 1.6 |
| SCE 34TN | 4.762 | 8.731 | 6.35 | - |
| HK0509 | 5 | 9 | 9 | 2 |
| BK0509 | 5 | 9 | 9 | 2.1 |
| HK0510 | 5 | 9 | 10 | - |
| HK0509TN | 5 | 11 | 9 | - |
| HK0606 | 6 | 10 | 6 | - |
| HK0607 | 6 | 10 | 7 | 1.8 |
| BK0608 | 6 | 10 | 8 | 2.2 |
| HK0608 | 6 | 10 | 8 | 2.1 |
| BK0609 | 6 | 10 | 9 | 2.6 |
|
Bearing No. (Plastic spring) |
Bearing No. (Stainless steel spring plate) |
Fw(mm) |
D(mm) |
C(mm) |
|---|---|---|---|---|
| HF0406KF | - | 4 | 8 | 6 |
| HF0406KFR | - | 4 | 8 | 6 |
| HK0608KF | - | 6 | 10 | 8 |
| HF0612KF | HF0612 | 6 | 10 | 12 |
| HF0612KFR | HF0612R | 6 | 10 | 12 |
| HF061207 | HF061207 | 6 | 12 | 7 |
| HF061210 | HF061210 | 6 | 12 | 10 |
| HF081210 | HF081210 | 8 | 12 | 10 |
| HF0812KFR | HF0812R | 8 | 12 | 12 |
| HF0812KF | HF0812 | 8 | 12 | 12 |
| HF08145.3KF | - | 8 | 14 | 5.3 |
| HF081410 | HF081410 | 8 | 14 | 10 |
| HF081412 | HF081412 | 8 | 14 | 12 |
| HF081607 | HF081607 | 8 | 16 | 7 |
| HF081610 | HK081610 | 8 | 16 | 10 |
|
Bearing No. |
dr(mm) |
D(mm) |
C(mm) |
Weight(g) |
|---|---|---|---|---|
| NK5/12TN | 5 | 10 | 12 | 3.7 |
| NK6/10TN | 6 | 12 | 10 | 4.7 |
| NK6/12TN | 6 | 12 | 12 | 5.7 |
| NK7/10 | 7 | 14 | 10 | 6.9 |
| NK7/12 | 7 | 14 | 12 | 8.2 |
| NK8/12 | 8 | 15 | 12 | 8.7 |
| NK8/16 | 8 | 15 | 16 | 12 |
| NKS8 | 8 | 16 | 13 | 11 |
| NK9/12 | 9 | 16 | 12 | 10 |
| NK9/16 | 9 | 16 | 16 | 13 |
| NK10/12 | 10 | 17 | 12 | 10 |
| NK10/16 | 10 | 17 | 16 | 13 |
| NKS10 | 10 | 19 | 13 | 15 |
| NK12/12 | 12 | 19 | 12 | 13 |
| NK12/16 | 12 | 19 | 16 | 16 |
|
Bearing No. (With inner) |
Bearing No. (Without inner) |
d(mm) |
Fw(mm) |
D(mm) |
C(mm) |
|---|---|---|---|---|---|
| RNA494TN | RNA494TN | - | 6 | 12 | 10 |
| NA495 | RNA495 | 5 | 7 | 13 | 10 |
| NA496 | RNA496 | 6 | 8 | 15 | 10 |
| NA497 | RNA497 | 7 | 9 | 17 | 10 |
| NA498 | RNA498 | 8 | 10 | 19 | 11 |
| NA499 | RNA499 | 9 | 12 | 20 | 11 |
| NA4900 | RNA4900 | 10 | 14 | 22 | 13 |
| NA4901 | RNA4901 | 12 | 16 | 24 | 13 |
| RNA49/14 | RNA49/14 | - | 18 | 26 | 13 |
| NA4902 | RNA4902 | 15 | 20 | 28 | 13 |
| NA4903 | RNA4903 | 17 | 22 | 30 | 13 |
| NA4904 | RNA4904 | 20 | 25 | 37 | 17 |
| NA49/22 | RNA49/22 | 22 | 28 | 39 | 17 |
| NA4905 | RNA4905 | 25 | 30 | 42 | 17 |
| NA49/28 | RNA49/28 | 28 | 32 | 45 | 17 |
|
Bearing No. |
Bearing No. (Thrust bearings plate) |
Bearing No. (Bearings plate) |
Dc1(mm) |
Dc(mm) |
DW(mm) |
|---|---|---|---|---|---|
| AXK 0515TN | AS 0515 | - | 5 | 15 | 2 |
| AXK 0619TN | AS 0619 | LS 0619 | 6 | 19 | 2 |
| AXK 0821TN | AS 0821 | LS 0821 | 8 | 21 | 2 |
| AXK 1024 | AS 1024 | LS 1024 | 10 | 24 | 2 |
| AXK 1226 | AS 1226 | LS 1226 | 12 | 26 | 2 |
| AXK 1528 | AS 1528 | LS 1528 | 15 | 28 | 2 |
| AXK 1730 | AS 1730 | LS 1730 | 17 | 30 | 2 |
| AXK 2035 | AS 2035 | LS 2035 | 20 | 35 | 2 |
| AXK 2542 | AS 2542 | LS 2542 | 25 | 42 | 2 |
| AXK 3047 | AS 3047 | LS 3047 | 30 | 47 | 2 |
| AXK 3552 | AS 3552 | LS 3552 | 35 | 52 | 2 |
| AXK 4060 | AS 4060 | LS 4060 | 40 | 60 | 3 |
| AXK 4565 | AS 4565 | LS 4565 | 45 | 65 | 3 |
| AXK 5070 | AS 5070 | LS 5070 | 50 | 70 | 3 |
| AXK 5578 | AS 5578 | LS 5578 | 55 | 78 | 3 |
|
Bearing No. |
Bore(d)(mm) |
Outer(D)(mm) |
Width(B)(mm) |
Weight(g) |
|---|---|---|---|---|
| K3 x 5 x 9TN | 3 | 5 | 9 | 0.4 |
| K3 x 6 x 7TN | 3 | 6 | 7 | 0.4 |
| K4 x 7 x 7TN | 4 | 7 | 7 | 0_5 |
| K4 x 7 x 10TN | 4 | 7 | 10 | 0.7 |
| K5 x 8 x 8TN | 5 | 8 | 8 | 0.7 |
| K5 x 8 x 10TN | 5 | 8 | 10 | 0.9 |
| K6 x 9 x 8TN | 6 | 9 | 8 | 0.8 |
| K6 x 9 x 10TN | 6 | 9 | 10 | 1 |
| K6 x 10 x 13TN | 6 | 10 | 13 | 1.3 |
| K7 x 10 x 8TN | 7 | 10 | 8 | 0.9 |
| K7 x 10 x 10TN | 7 | 10 | 10 | 1.1 |
| K8 X 11 X 8TN | 8 | 11 | 8 | 1.1 |
| K8 x 11 x 10TN | 8 | 11 | 10 | 1.7 |
| K8 x 11 x 13TN | 8 | 11 | 13 | 1.8 |
| K8 x 12 x 10TN | 8 | 12 | 10 | 1.3 |
|
Bearing No. |
Bore(d)(mm) |
Outer(D)(mm) |
Width(B)(mm) |
Weight(g) |
|---|---|---|---|---|
| CF 4 | 4 | 12 | 8 | 7.4 |
| CF 5 | 5 | 13 | 9 | 10.3 |
| CF 6 | 6 | 16 | 11 | 18.5 |
| CF 8 | 8 | 19 | 11 | 28.5 |
| CF 10 | 10 | 22 | 12 | 45 |
| CF 10-1 | 10 | 26 | 12 | 60 |
| CF 12 | 12 | 30 | 14 | 95 |
| CF 12-1 | 12 | 32 | 14 | 105 |
| CF 16 | 16 | 35 | 18 | 169 |
| CF 18 | 18 | 40 | 20 | 250 |
| CF 20-1 | 20 | 47 | 24 | 386 |
| CF 20 | 20 | 52 | 24 | 461 |
| CF 24 | 24 | 62 | 29 | 815 |
| CF 24-1 | 24 | 72 | 29 | 1140 |
| CF 30 | 30 | 80 | 35 | 1870 |
Why is ISK BEARINGS frequently chosen as the specified bearing brand by major international companies?

Advantages of ISK BEARINGS Factory 
Extended reading:
Creating a Green Footprint: ISK BEARINGS Corporate Responsibility and ESG Innovation
Please provide your question. We’ll find you with the best support options.