Need Support?
Please provide your question. We’ll find you with the best support options.
staging

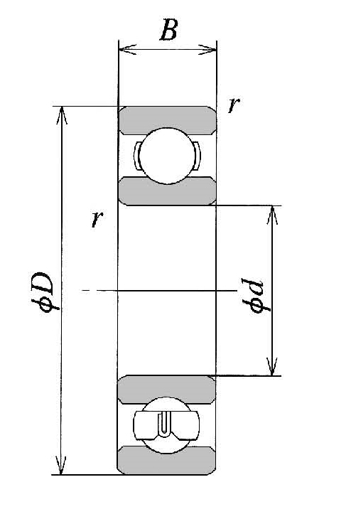
| 688 Bearing Dimensions | Miniature Ball Bearings | |
|---|---|
The covers of 688 bearing are mainly divided into three types, ZZ, 2RS and OPEN.
About 40% of the failures of miniature bearings are caused by dust, dirt, and erosion, causing problems with torque and noise. Most of the dirt can be observed by the naked eye.
Because the size of the miniature bearing is small, it is necessary to pay more attention to the force during installation to avoid the impact of excessive force.
In electric fans, it is applied to the motor and shaft components to ensure smooth operation and durability. Skateboards use 688 bearing on their wheels to provide low-friction rotation, enhancing flexibility and ride performance. Juicers commonly employ 688 bearing in their blade and rotating components to achieve smooth and efficient blending and mixing operations. Treadmills utilize 688 bearing in their rollers and bearing sections to ensure smooth operation and durability.

In RC car, the 688 bearing is commonly used in various locations such as wheel hubs, motor shafts, and differential assemblies.. It helps reduce friction and provides stability, resulting in improved overall performance and longer-lasting components.

Due to its miniature size, the 688 bearing is also ideal for use in small-scale robotic systems, where precise and reliable rotational support is crucial. Its smooth operation ensures the smooth movement of joints, gears, and other mechanical parts, contributing to the accurate control and functionality of the robots.
Furthermore, the 688 bearing has found its place in the world of skateboarding and rollerblading.

Read more 6000 Bearing Dimensions | Deep Groove Ball Bearing
Please provide your question. We’ll find you with the best support options.